近日,上海集成电路产业投资基金三期合伙企业(有限合伙)完成工商变更登记,出资额实现大幅扩容,从原有5.3亿元增至60.3亿元,增幅约1038%。

出资人方面,新增上海国投先导集成电路私募投资基金合伙企业(有限合伙)、上海浦东引领区投资中心(有限合伙)两大主体,与原有出资人上海国有资本投资有限公司、上海集成电路产业投资基金管理有限公司共同构成基金全新出资阵容。
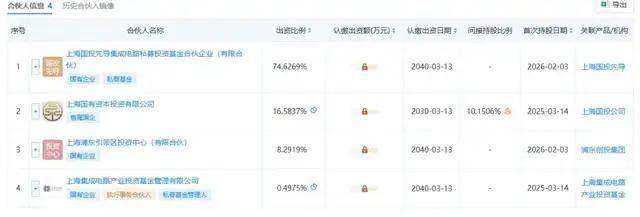
具体来看,增资后各出资人认缴出资额及占比明确:上海国投先导集成电路私募投资基金合伙企业(有限合伙)认缴45亿元,占比约74.63%,成为基金第一大出资人;上海国有资本投资有限公司认缴10亿元,占比约16.58%,较变更前完成增资;上海浦东引领区投资中心(有限合伙)认缴5亿元,占比约8.29%;上海集成电路产业投资基金管理有限公司仍认缴0.3亿元,占比约0.50%,继续担任执行事务合伙人,负责基金的运营管理与投资决策工作。

上海是我国集成电路产业发展重镇。据上海经信委数据显示,2025年上海集成电路产业营收规模超4800亿元,其中集成电路制造业产值同比增长15.1%。在芯片设计、制造、封测、设备/材料、EDA/IP等环节培养了一批行业细分领域龙头企业,其中科创板上市企业达35家,位列全国第一。
2026年1月,上海市政府发布《上海市支持先进制造业转型升级三年行动方案(2026—2028年)》,明确提出支持集成电路企业瞄准装备、先进工艺、光刻胶材料、3D封装,实现全产业链突破,培育一批具有国际竞争力的龙头企业,同时推动高性能智算芯片加快发展,聚焦集成电路等重点产业链关键环节开展核心技术攻关。
2026年初又正式揭牌“上海集成电路装备创新园”与“嘉定芯片设计园”——前者聚焦光刻胶、光掩膜等核心材料及涂胶显影等关键设备研发制造,后者瞄准先进逻辑芯片、车规级芯片国产化设计与产业化,进一步细化产业分工、强化载体支撑。同时,位于上海浦东川沙的我国首条二维半导体工程化验证线成功点亮。
综上,行业分析认为,新增资金或将重点投向集成电路制造、核心设备、关键材料等产业链“卡脖子”环节,同时瞄准先进封装与AI融合等前沿方向,与上海集成电路基金一期、二期形成互补,构建起覆盖设计、制造、封测、设备、材料的全链条投资体系,助力上海打造集成电路产业高地。
2026开年多地密集布局集成电路专项基金
值得关注的是,2026年开年至今,国内半导体、集成电路领域迎来基金布局密集期,西安、厦门、无锡、天津、上海五地相继落地专项投资基金,总规模合计超120亿元,聚焦半导体产业链补链强链,为国产半导体产业高质量发展注入强劲资本动能。
01、西安半导体产业链发展基金正式落地
1月7日,新华网陕西频道发布消息称,西安半导体产业链发展基金已正式落地西安经济技术开发区,该基金于2025年12月25日完成工商注册,总规模50亿元,首期规模10亿元,存续期7年,采用“5年投资期+2年退出期”的运作模式。
据悉,该基金由西安经开金融控股有限公司、西安经发资产管理有限公司联合陕西长安芯材科技产业发展有限公司共同发起,秉持“政策引导+资本赋能+产研联动”核心理念,创新采用“一平台、一研究院、一基金”顶层设计架构,明确聚焦半导体核心材料、关键器件、前沿制造技术三大方向,同时开展产业并购、产业链补链强链及子基金协同联动业务,助力西安经开区打造全国半导体创新高地。
02、厦门海厦联投投资合伙企业完成工商注册
1月14日,工商信息显示,厦门海厦联投投资合伙企业(有限合伙)完成工商注册,出资额5亿元,由厦门半导体投资集团有限公司、厦门海创新兴产业投资有限公司共同出资设立,其中厦门半导体投资集团持股99.8%,为主要出资方,执行事务合伙人为厦门海创新兴产业投资有限公司。
作为厦门国资加码半导体领域的重要举措,该基金聚焦以投促招,重点挖掘并孵化半导体关键原材料、EDA工具以及第三代半导体领域的专精特新企业,助力厦门完善半导体产业链布局,冲刺千亿产业链目标。
03、中电科(无锡)电子基础产业股权基金完成注册
1月27日,中电科(无锡)电子基础产业股权基金(有限合伙)完成工商注册,基金规模20亿元,是江苏省战新母基金体系内规模最大的一支CVC子基金。
该基金由中电科投资控股有限公司发起,联合江苏无锡集成电路产业专项母基金、建信领航战略性新兴产业发展基金、无锡产业发展集团等共同设立,管理人为中电科网信私募基金管理有限公司——中国电子科技集团旗下全资私募基金管理平台,核心聚焦电子基础产业与集成电路产业链,旨在构建央地协同的产业资本生态,为无锡滨湖区集成电路产业强链补链提供资本支撑。
04、天津芯火集成电路创业投资基金完成备案
1月30日,在2025年天津市集成电路行业协会换届大会暨2025集成电路(天津)创新发展大会上,天津芯火集成电路创业投资基金正式发布,该基金已于2025年6月3日完成中国证券投资基金业协会备案,目前已进入实质性运作阶段。
据天津市人民政府官方发布信息,该基金目标规模2亿元,由天津市天使投资引导基金、天津滨海高新产业投资基金及社会资本共同出资,深圳市镜湖资本担任管理人,单笔投资额度设定为100万—1000万元,重点投向半导体装备、EDA工具、高端芯片设计、先进材料、智能传感器等早期项目。
值得一提的是,发布现场已与5家拟投企业完成合计3000万元签约,成为天津首只聚焦集成电路早期项目的专项基金,助力构建集成电路“四链融合”生态。
05、国寿科创基金落地浦东 重点布局上海三大先导产业
近日,国寿科创基金落地上海浦东。该基金由中国人寿、上海国投先导、浦东创投等机构共同发起设立。
其中浦东创投旗下引领区基金认缴出资5亿元,旨在为浦东新区推进科技创新、构建现代化产业体系、培育新质生产力注入强劲资本动能。
在投资方向上,基金将重点布局人工智能、集成电路、生物医药这上海三大先导产业,专注于智能芯片、AI基础软件等关键环节。
基金注重产业链上下游协同,投资阶段以成长期及成熟期科技创新企业为主,推动资本精准投向科技创新的核心领域。
国资主导下的精准补短板
综观近期落地的多支基金,国内半导体投资呈现出明显的国资主导、各区差异化发展的特征。
从出资方来看,国资主导成为资本布局的核心底色。上海集成电路基金三期100%国资出资,全国其他四地落地的专项基金也均以国有资本为核心驱动力——西安基金由地方国资平台联合发起,厦门基金由厦门半导体投资集团(国资)主导,无锡基金由中电科(央企)发起,天津基金依托地方天使引导基金,国寿科创基金则联动国资与央企资本,彰显出国资在核心战略产业中的引领与支撑作用。
从投资方向来看,2026开年各地落地的基金基于自身产业基础形成差异化定位。上海聚焦全链条攻坚与前沿技术布局,西安侧重产业链整合与产研联动,厦门聚焦专精特新企业孵化,无锡主打央地协同与电子基础产业,天津专注早期项目培育。
集成电路产业作为支撑数字经济发展的核心基石,是国家科技自立自强的战略核心领域。
从上海集成电路基金三期的资本扩容到专项基金的密集落地,共同构建起国资主导的全国集成电路资本支撑体系。未来随着基金的有序运作,有望尽早补齐我国集成电路制造、设备、材料等产业链短板,加速国产替代进程,带动全产业链协同升级。